Workflow
轻工机械轴承
icon
搜索文档
拟募资38亿元,吉利、比亚迪供应商人本股份再冲IPO
财经网· 2025-12-30 13:47
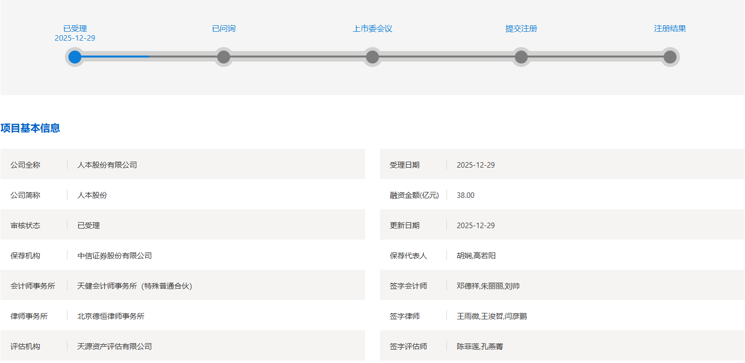
公司IPO进程与概况 - 人本股份有限公司于12月29日再度向沪市主板发起IPO冲刺并获受理 此前公司曾于2023年3月首次递交申请但在2024年6月因经营战略及规划调整而终止审核 [1][3] - 本次IPO拟募集资金总额为38亿元 较前次申报的27.02亿元增加约40% 募集资金用途也进行了相应调整 [4] 主营业务与产品结构 - 公司主营业务为轴承及相关产品的研发、生产和销售 具备从材料、部件到成品的全产业链研发与制造能力 轴承产品型号规格超五万种 [1] - 报告期内轴承成品收入占公司总收入比重均超过86% 其中汽车轴承是核心收入来源 2022年至2025年上半年贡献收入占比分别为39.16%、45%、45.97%和45.07% [1] - 轻工机械轴承是另一重要收入来源 同期收入占比分别为28.94%、25.62%、24.41%及24.59% [1] 客户与市场应用 - 公司产品广泛应用于汽车工业、轻工机械、重型机械及重大装备等领域 [1] - 汽车领域主要客户包括吉利集团、比亚迪、长安集团、长城汽车、伯特利等整车及零部件企业 2023年以来吉利集团始终为第一大客户 销售额占比分别为4.28%、5.1%、4.98% [1] 财务业绩表现 - 2022年至2024年及2025年上半年 公司营业收入分别为93.88亿元、104.82亿元、119.6亿元及64.71亿元 归母净利润分别为5.85亿元、6.25亿元、7亿元及3.13亿元 [2] - 2022年公司营收同比增长2.93% 但归母净利润同比减少20.91% [2] - 报告期内公司销售毛利率分别为28.64%、27.99%、28.06%及26.54% 呈略有下滑趋势 [2] 募集资金具体用途 - 本次IPO募集资金38亿元将投资于五个项目 总投资概算为51.80亿元 募集资金投资额为38亿元 [4] - 具体项目包括:年产9000万套机器人及智能装备轴承项目(募投6亿元)、年产7500万套新能源车用轴承及高精密工业轴承项目(募投6亿元)、长寿命高可靠精密轴承项目(募投7亿元)、高端装备用关键零部件产业化和自主替代项目(募投9亿元)以及补充流动资金(募投10亿元) [4] - 拟用于补充流动资金的募资额从前次IPO的8亿元上调至10亿元 [4]
IPO雷达|人本股份获受理,负债率居高仍大手笔分红,开口再要10亿元补流
搜狐财经· 2025-12-30 12:05
IPO受理与募资计划 - 人本股份有限公司于2025年12月29日主板IPO获受理,拟募集资金38亿元[1][2] - 募集资金扣除发行费用后,将投向四个产能建设项目及补充流动资金,其中10亿元拟用于补充流动资金[12][13] - 具体募投项目包括:年产9000万套机器人及智能装备轴承项目(投资10.31亿元,募资6亿元)、年产7500万套新能源车用轴承及高精密工业轴承项目(投资10.06亿元,募资6亿元)、长寿命高可靠精密轴承项目(投资10.73亿元,募资7亿元)、高端装备用关键零部件产业化和自主替代项目(投资10.70亿元,募资9亿元)[13] 公司业务与行业地位 - 公司是中国规模最大、品类最全的综合性轴承制造集团,产品型号规格超五万种[2] - 产品广泛应用于汽车工业、轻工机械、重型机械及重大装备等国民经济重要领域[2] - 汽车轴承是公司核心收入来源,2023年至2025年上半年,该业务收入占主营业务收入比例分别为45.00%、45.97%和45.07%[6][7] 财务表现与增长趋势 - 报告期内(2022年至2025年上半年),公司营业收入持续增长,分别为93.88亿元、104.82亿元、119.60亿元和64.71亿元[4] - 同期归母净利润亦呈增长态势,分别为5.85亿元、6.25亿元、7.00亿元和3.13亿元[4] - 汽车轴承业务增长较快,主要受益于公司技术持续提升及新能源汽车行业的快速发展[7] 应收账款与资产结构 - 公司应收账款持续攀升,报告期各期末账面价值分别为21.87亿元、24.48亿元、27.88亿元和32.21亿元[8] - 截至2025年6月末,应收账款占流动资产的比例为28.43%[8] - 公司资产总额持续增长,截至2025年6月30日为203.38亿元[5] 负债水平与偿债能力 - 公司资产负债率较高,截至2025年6月末合并报表资产负债率为66.63%[5][10] - 银行借款余额占负债总额的比例为62.39%,公司为取得借款将部分房屋、土地使用权、设备等资产设置了担保抵押[10] - 公司偿债能力指标弱于同行,2025年上半年流动比率为1.08(行业平均2.07),速动比率为0.76(行业平均1.63)[10][11] - 公司解释负债规模较大主要因持续进行产能提升和产线升级,且作为非上市公司融资渠道有限,主要依靠自身积累和银行融资[11] 历史分红与潜在风险 - 报告期内公司曾实施三次现金股利分红,累计金额超过5亿元[12] - 公司面临下游市场需求变化风险,汽车轴承收入占比高,若新能源汽车补贴政策退坡或汽车销量增长放缓,可能对公司业绩产生不利影响[6][7] - 公司提示,若主要客户经营状况发生不利变化,可能导致应收账款不能及时或全额收回,影响公司流动性和经营业绩[8] 子公司合规情况 - 报告期内,公司部分子公司因税务、环保及安全生产等方面违规受到行政处罚[14][15] - 芜湖汽轴公司因环保问题(含挥发性有机物废气处理不当、设备未验收即投入使用)被累计罚款37.8万元,另因擅自将海关监管货物用于抵押被罚款3万元[15] - 其他子公司如旭川建筑、湖州诚基、湖州以创精工等因安全生产管理不到位、未设置安全警示标志等问题,分别被处以1.5万元至4万元不等的罚款[15]