Workflow
融资安排
icon
搜索文档
万达首次赎回优质万达广场,仅一天就转手!
金融界· 2025-12-10 16:40
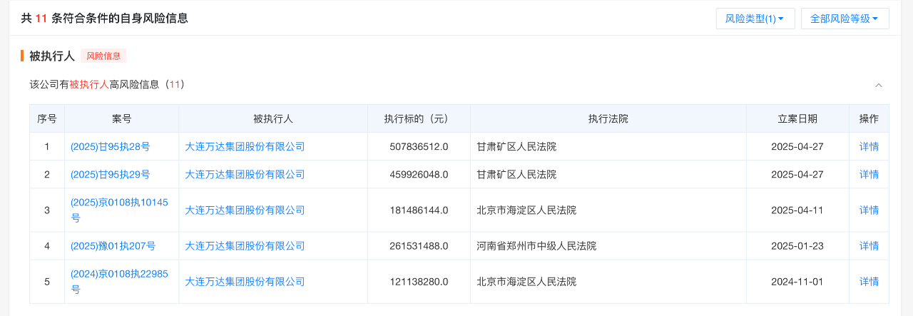
核心观点 - 万达集团近期通过“先赎回后迅速转让”烟台芝罘万达广场的操作,被市场解读为一项旨在缓解债务压力的融资安排 [1] - 公司面临较大的短期流动性压力,目前存在超过69亿元人民币的被执行总金额 [3] - 为应对资金紧张局面,万达近年来已多次出售旗下资产,包括核心优质资产,这一趋势可能持续 [5][6] 交易事件分析 - 万达于12月2日从原股东处赎回烟台芝罘万达广场的全部股权,使其重回项目股东席位 [1] - 仅隔一日(12月3日),万达便将该项目股权全数转让给新成立的苏州联商玖号商业管理有限公司 [1] - 该交易被行业专家解读为本质上是基于协议框架的融资安排,赎回可能是为了兑现此前融资承诺,而迅速转让则可能是一次新的“融资”行为 [6] 标的资产质量 - 烟台芝罘万达广场是万达体系内的优质现金流资产,年租金收入约1.2亿元人民币 [1] - 该广场净租金回报率在6%以上,商铺出租率常年接近100%,被视为能贡献稳定现金流的“压舱石”资产 [1][2] - 此类优质资产收回后,可立即用于抵押融资或作为REITs扩募资产,以提升资金使用效率 [1] 公司财务状况与压力 - 根据天眼查数据,大连万达集团股份有限公司目前存在10余条被执行人信息,被执行总金额超过69亿元人民币 [3] - 具体被执行案例包括在甘肃矿区人民法院、北京市海淀区人民法院等涉及的多笔巨额款项,单笔执行标的从约1.21亿元至5.08亿元不等 [5] 资产处置历史与趋势 - 为缓解资金压力,万达近年来持续出售旗下资产,尤其是万达广场项目 [5] - 今年5月,万达商管将旗下48家位于一二线及三四线城市的万达广场项目公司股权出售给由太盟牵头的财团,交易金额可能达到500亿元人民币 [5][6] - 此后资产出售持续进行,例如7月出售滁州万达广场,10月出售广州增城万达广场 [6] - 市场分析认为,为保障现金流稳定,公司未来可能继续出售部分非核心资产 [6]
“闪赎闪卖”背后:万达在玩一场“融资循环游戏”?
凤凰网财经· 2025-12-07 20:07
核心观点 - 万达集团近期对烟台芝罘万达广场的股权操作出现戏剧性反转 先于12月2日从新华保险旗下公司手中“赎回”该项目 但仅隔一日(12月4日)又将其100%股权转售给苏州联商玖号商业管理有限公司 [3][4][5] - 业内分析认为 此次“赎回-转卖”的快速操作可能并非真正的资产出售 而是一种融资安排 即万达通过此类交易获取资金以缓解流动性压力 [9] - 万达集团面临严峻的现金流与债务危机 过去两年已累计出售超过80座万达广场以“回血” 但债务状况仍不容乐观 未来可能继续出售非核心资产 [6][8][10] 烟台芝罘万达广场股权变更事件 - **事件经过**:烟台芝罘万达广场股权在短时间内发生两次变更 12月2日 上海万达锐驰企业管理有限公司(万达商管全资持有)从新华保险旗下两家公司手中购回项目100%股权 12月4日 苏州联商玖号商业管理有限公司成为新股东并100%控股 [3][4][5] - **项目背景**:该广场于2024年7月曾被出售给新华保险旗下公司 项目年租金约1.2亿元 商铺出租率常年接近100% 是能为万达贡献稳定现金流的优质资产 [5] - **业内解读**:分析认为此次交易可能基于原有协议框架 本质是融资安排 “赎回”可能是对前期融资行为的兑现(还钱) 而随即再次转手不排除是新一轮的“融资”行为 [9] 万达集团面临的财务与经营压力 - **流动性危机**:受上市失利、对赌失败等多重因素影响 万达陷入现金流危机 为缓解压力 公司自2023年下半年起频繁出售资产 累计出售的万达广场数量已超过80座 [6][8] - **司法与债务状况**:大连万达集团累计被执行次数达10次 被执行总金额高达52.6亿元 其中今年占9次 同时涉及50条“股权冻结”信息 今年新增18次 其关联公司万达地产集团有限公司被执行人信息累计达408条 限制消费令达92个 [6] - **重大资产出售**:今年5月 太盟、腾讯、京东等投资者联合收购了万达直接或间接持有的48家公司(对应多座万达广场)100%股权 交易已获监管部门批准 [7] - **持续偿债压力**:大连万达商业管理集团面临两笔总值7亿美元的债券 将于2026年初到期 [10] 万达广场资产处置动态 - **出售节奏**:资产出售仍在持续进行 仅10月下旬就有两座万达广场完成股权变更 分别位于黄石和广州增城 [9] - **资产质量差异**:在大量出售资产的同时 万达曾“逆向”赎回烟台芝罘万达广场这类能贡献稳定现金流的“压舱石”资产 但最终仍迅速转手 [5][6] - **未来展望**:为保障现金流稳定 万达不排除继续出售部分非核心资产的可能 [9]
兴蓉环境:目前公司暂未涉及可转债相关融资事项
证券日报· 2025-11-27 19:13
公司财务与融资状况 - 公司主体信用评级为AAA [2] - 公司拥有低成本融资优势 [2] - 公司持续优化融资安排 结合经营发展资金需求、市场行情等因素采用适宜的融资工具 [2] - 公司合理控制融资成本和资产负债率 以保持稳健的财务结构 [2] - 公司目前暂未涉及可转债相关融资事项 [2]
兴蓉环境(000598.SZ):目前公司暂未涉及可转债相关融资事项
格隆汇· 2025-11-27 16:20
公司信用与融资状况 - 公司拥有AAA主体信用评级 [1] - 公司具有低成本融资优势 [1] - 公司持续优化融资安排,结合经营发展资金需求、市场行情等因素采用适宜的融资工具 [1] - 公司合理控制融资成本和资产负债率,保持稳健的财务结构 [1] 公司融资工具动态 - 目前公司暂未涉及可转债相关融资事项 [1]
Placing to raise £2,000,000
Globenewswire· 2025-10-23 14:00
融资活动 - 公司通过配售方式筹集了200万英镑的总收益,发行了1,111,111,111股每股面值为0.1便士的新普通股,配售价格为每股0.18便士 [2] - 此次配售由公司的联合经纪商Axis Capital Markets Ltd负责进行,并将分两批完成 [2] - 配售所得净现金将用于偿还Alpha和Mercuria的100万美元债务,以确保获得贷款延期,从而使公司能够获得钻石销售收入来清偿此项及其他未偿债务 [7] - 部分融资将用于在重启Baita Plai矿生产和重新开放Manaila矿之前,继续进行运营和技术尽职调查,作为公司资产基础持续审查的一部分,并旨在完成新的承购融资安排和/或与新合资伙伴达成协议 [7] - 部分融资将用于在公司等待11月17日招标会出售历史钻石包裹所得款项期间,增强公司在完成年度账目最终定稿前的现金状况 [7] 股权与上市 - 公司将向AIM市场申请此次配售发行的新普通股上市交易,这些新股将与现有普通股享有同等权利,预计首批新股将于2025年10月29日左右上市,第二批将于2025年11月6日左右上市 [3] - 首批新股上市后,公司的已发行股本总额将约为4,415,492,276股普通股;第二批新股上市后,总额将增至约4,997,575,609股普通股,公司未持有任何库存股,这些数字可作为股东计算持股比例的依据 [4] 资产组合与运营 - 公司是一家在英国AIM市场上市的矿业公司,在罗马尼亚、塔吉克斯坦和津巴布韦拥有矿山和项目 [8] - 在罗马尼亚,公司专注于通过重启先前生产过的矿山来快速推进高质量项目 [8] - 公司拥有Vast Baita Plai SA的100%权益,后者全资拥有Baita Plai多金属矿,该矿拥有符合JORC标准的储量和资源报告,初始矿山生产寿命约3-4年,铜当量总矿产资源量为15,695吨,另有180万至300万吨勘探目标,公司正致力于确认扩大至580万吨的勘探目标 [9] - 公司还拥有Manaila多金属矿,正寻求在维护保养后恢复生产,并已获得Manaila Carlibaba扩展开采许可证,可在更大许可区域内重新评估矿产资源开采 [10] - 公司在津巴布韦持续存在,正重新规划其未来投资战略,并已开始就国内更多采矿特许权进行讨论 [11] - 在塔吉克斯坦,公司通过一家合资公司享有权益,可从Takob矿选矿厂获得近期收入机会,该机会为100%融资,公司将获得所有有色金属精矿及任何其他生产金属销售额的12.25%特许权使用费 [12] - 公司还受聘代表所有者开发和管理Aprelevka金矿,有权从所有者在该矿49%权益所得收益中分得10%,该矿持有四个活跃的采矿许可证,目前年产量约为11,600盎司黄金和116,000盎司白银,公司计划协助将其年产量提升至接近历史峰值水平(约27,000盎司黄金和250,000盎司白银) [13]
信铭生命科技股东将股票由海通国际证券转入lmagi Brokerage Limited 转仓市值6798.25万港元
智通财经· 2025-10-09 08:28
公司股权变动 - 股东于10月8日将股票由海通国际证券转入Imagi Brokerage Limited,转仓市值为6798.25万港元,占公司股份比例为13.95% [1] 公司融资安排 - 有关2018年融资协议的再融资安排已完成,2025年贷款协议项下所有先决条件均已达成,并于2025年9月26日完成交割 [1] - 公司已获提供融资总额约8730万英镑,其中约7030万英镑已提取,用于悉数偿还英国贷款及相关交易成本 [1] - 融资余下1700万英镑将用于未来一至两年英国物业的资本开支 [1] 公司资本开支计划 - 公司将着手规划对英国物业进行大型翻新工程,包括升级其主要设施及配套设施 [1] - 翻新工程旨在提升英国物业的租金收益及资本价值 [1]