Workflow
股票投资
icon
搜索文档
乐视网回应拟花1.8亿炒股,称“被误读”:其中1.5亿是无风险投资
搜狐财经· 2025-12-04 23:47
公司核心事件与回应 - 乐视网计划使用不超过1.8亿元自有资金进行金融资产投资,该话题登上微博热搜第一[1] - 公司回应称事件被“误读”,强调1.5亿元用于北交所新股认购和国债逆回购,属于“无风险投资”[1] - 公司表示此举旨在提升资金运营收益,且在不影响主营业务正常发展的前提下进行[2] 投资计划具体构成 - 总投资额度1.8亿元,其中不低于1.5亿元用于北交所新股认购和国债逆回购[1][2] - 用于二级市场股票交易的资金不超过3000万元,且需满足特定投资比例限制[1][2] - 二级市场投资中,不低于80%投向沪深300指数成份股,不低于50%投向银行股[1][2] - 投资额度自股东大会审议通过之日起36个月内可循环使用[2] 公司财务状况与债务 - 截至2024年,乐视网负债总额为237.63亿元,同期公司资产仅为18.55亿元[4] - 2025年前三季度,公司营业收入为1.15亿元,同比减少2.88%[4] - 2025年前三季度,归属于母公司所有者的净亏损为2.42亿元,较上年同期的1.73亿元亏损扩大[4] - 公司解释不优先还债的原因为:在保留基本运营流动资金后,计算的债务清偿率不会高于1.5%[1] - 公司认为维持生存是首要任务,以确保与债权人、投资人和用户的沟通渠道[2] 公司业务与资产状况 - 公司主要依靠运营和版权收入维持,旗下最知名的影视剧资产为《甄嬛传》和《芈月传》[4] - 《甄嬛传》平均每年能为出品方花儿影视带来一千多万元的收益[4] - 乐视网于2013年以9亿元的价格全资收购了花儿影视[4] - 截至2024年末,乐视网员工总数为159人[4] 公司股权与控制权 - 乐视网由贾跃亭创立[6] - 2022年6月,贾跃亭将其持有的6亿股股份(占总股本15.04%)对应的表决权等委托给致新云网,致新云网成为公司新的控股股东[6] - 近年来,公司与贾跃亭本人已无直接通讯或邮件联系[6]
乐视网回应拟拿1.8亿“炒股”却不还债:想挣钱活下去
搜狐财经· 2025-12-04 21:36
公司投资计划与资金运用 - 公司计划使用1.8亿元进行证券投资 其中不低于1.5亿元将用于北交所新股申购和国债逆回购[1] - 对于3000万元的股票投资 公司计划将不低于80%的资金投向沪深300指数成份股 并将不低于50%的资金投向银行股 公司认为此配置偏稳健[3] - 公司进行投资的出发点是提升资金运营收益[1] 公司对具体投资策略的说明 - 公司表示 在2025年已上市的25家北交所新股中 于上市首日卖出全部可获得收益 并称“看起来是百分百挣钱”[1] - 公司承认投资难免有风险 但更想要挣钱活下去[1] - 公司认为国债逆回购属于无风险投资 且其收益率远高于银行活期存款利率[1] 公司债务状况与偿债态度 - 公司负债总额为238亿元[1] - 公司一直处于高负债经营状况 对于历史债务问题 公司表示不是不还 是不知该怎么还[3] - 公司在考虑保留基本运营流动资金后 计算的债务清偿率不会高于1.5% 公司不排斥按此比例清偿 但困惑于具体偿还方式[3]
负债238亿 拟花1.8亿炒股?乐视网回应:被“误读”了
每日经济新闻· 2025-12-04 20:06
公司核心事件与回应 - 公司计划使用1.8亿元进行证券投资,该话题登上微博热搜第一[2] - 公司回应称事件被“误读”,其中不低于1.5亿元用于北交所打新股和国债逆回购,后者被描述为“无风险投资”[2] - 剩余的3000万元股票投资将主要配置于沪深300指数成份股(不低于80%)和银行股(不低于50%),风格偏稳健[2] 公司财务状况与债务 - 截至2024年,公司负债总额为237.63亿元,资产总计18.55亿元,归属母公司股东的净资产为-213.08亿元[4][5] - 公司资产负债率(合并)高达1,280.86%,每股净资产为-5.34元[5] - 公司解释不优先还债的原因是:在保留基本运营资金后,计算的债务清偿率不高于1.5%[2] - 公司认为“活着是第一重要的事”,维持运营才能保持与债权人、投资人和用户的沟通渠道[3] 公司经营业绩表现 - 2024年公司营业收入为1.88亿元,归母净利润为-9710万元[7] - 2025年前三季度营业收入为1.15亿元,同比持平,归母净利润为-2.42亿元,持续亏损[7] - 截至2025年三季度末,公司归属母公司股东的净资产进一步恶化至-215.45亿元[7] - 2020年至2024年,公司负债总额从213.71亿元持续攀升至237.63亿元[4] 公司历史与现状 - 公司于2020年7月从创业板摘牌,终止上市,当日股价收报0.18元[3] - 退市后,公司股票转入新三板交易,并处于长期停盘状态,截至发稿时总市值为12亿元[3] - 公司表示8年来从未想过破产清算,业务尚在正常运转,主要收入来自付费会员、短视频运营、版权及电视剧发行等[7]
乐视网负债238亿拟花1.8亿炒股,靠甄嬛传年入数千万
搜狐财经· 2025-12-04 19:56
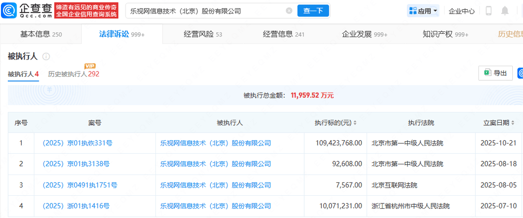
公司财务与经营状况 - 公司负债总额在2024年进一步升至近238亿元,而同期公司资产只有近19亿元,资产负债情况极为严峻 [8] - 公司目前为被执行人,被执行总金额约为1.20亿元(11,959.52万元),并关联多条失信被执行及限制高消费信息 [2][9] - 公司近期新增多起被执行案件,例如案号(2025)京01执恢331号,执行标的达109,423,768.00元 [2] 公司投资计划 - 公司于12月2日发布公告,拟利用不超过1.8亿元自有资金进行股票投资,以获取额外收益 [1][8] - 该投资计划具体包括:二级市场自由买卖股票总市值不超过3000万元,且购买银行股比例不低于50%,购买沪深300指数成份股不低于80%;参与北交所新股认购和国债逆回购总金额不低于1.5亿元 [8] - 资金在额度内可滚动使用,任一时点累计净收益可进行再投资,且再投资金额不包含在上述额度内 [8] - 这是公司2024年第二次公告投资计划,此前于4月28日公告的投资额度为不超过5000万元人民币 [8] 公司收入与资产 - 公司旗下花儿影视(2013年以9亿元被全资收购)出品的《甄嬛传》平均每年能为花儿影视带来一千多万的收益,成为公司稳定的收入来源 [4] - 公司法定代表人为刘延峰,贾跃亭仍为公司最大股东,持股比例为13.77% [9] 关联方与创始人动态 - 公司创始人贾跃亭关联的FF公司(Smart Technology Holdings Ltd)涉及与北京英大资本管理有限公司的合同纠纷一案,计划将于2026年3月在最高人民法院开庭 [5] - 根据破产文件,贾跃亭的最大债权人为深圳英大资本管理有限公司(现“北京英大资本管理有限公司”),索赔理由为个人担保,索赔金额高达2.797亿美元 [5] - 贾跃亭关联IP公司在抖音开设店铺,推出印有法拉第未来(FF)标志的商品,启动个人IP商业化以筹集资金偿还债务 [9] 市场反应与行业观察 - 公司“负债238亿拟花1.8亿炒股”的消息引发市场高度关注并登上热搜 [1] - 市场对公司的投资决定反应两极分化:支持者认为在主营业务承压背景下是无奈之举;反对者指出公司负债率已超1200%,炒股风险远高于收益,可能加剧财务危机 [9] - 行业观察认为,公司的命运折射出中国互联网企业的兴衰沉浮,其未来能否在债务泥潭中寻得生机仍有待时间验证 [9]
乐视网回应拟花1.8亿炒股:其中1.5亿是无风险投资;谈“为何有钱不还债”
搜狐财经· 2025-12-04 19:49
公司核心事件与回应 - 乐视网计划使用不超过1.8亿元自有资金进行金融资产投资以提升资金收益 [5][6] - 公司回应称该计划被“误读”,其中不低于1.5亿元用于北交所打新股和国债逆回购,属于“无风险投资” [3] - 剩余不超过3000万元用于二级市场股票投资,并设定投资限制:不低于80%投向沪深300指数成份股,且不低于50%投向银行股 [3][6] 公司财务状况与经营业绩 - 截至2024年,乐视网负债总额为237.63亿元,而总资产仅为18.55亿元 [8] - 2025年前三季度,公司营业收入为1.15亿元,同比减少2.88% [8] - 2025年前三季度,归属于母公司所有者的净亏损为2.42亿元,较上年同期的1.73亿元亏损扩大 [8] 公司业务与资产状况 - 公司主要依靠运营和版权收入维持,其持有的知名影视剧资产包括《甄嬛传》和《芈月传》 [8] - 《甄嬛传》在2018年至2027年期间,平均每年能为出品方花儿影视带来一千多万元的收益 [8] - 乐视网于2013年以9亿元的价格全资收购了花儿影视 [8] - 截至2024年末,乐视网员工总数为159人 [8] 公司治理与股东情况 - 公司由贾跃亭创立 [10] - 2022年6月,贾跃亭将其持有的6亿股股份(占总股本15.04%)的表决权委托给致新云网企业管理(天津)有限公司,致新云网成为公司控股股东 [10] - 近年来,公司与贾跃亭本人已无直接通讯或邮件联系 [11] 公司对债务问题的立场 - 公司表示一直处于高负债经营状况,并非不愿偿还债务,而是不知该如何偿还 [3] - 公司称在保留基本运营流动资金后,计算的债务清偿率不会高于1.5%,并不排斥按此比例清偿 [3] - 公司认为比起还债,维持公司生存是第一要务,以确保与债权人、投资人和用户的沟通渠道存在 [3]
乐视网负债238亿拟花1.8亿炒股,总市值仅剩12亿,称与贾跃亭已无直接通讯或邮件联系
搜狐财经· 2025-12-04 19:43
公司近期动态与财务表现 - 公司于12月2日晚间发布公告,拟利用不超过1.8亿元自有资金进行股票、国债逆回购及北交所新股认购投资,以获取额外资金收益[2] - 该投资计划中,二级市场股票投资总额不超过3000万元,且要求投资银行股比例不低于50%,投资沪深300指数成份股比例不低于80%,参与北交所新股认购和国债逆回购的金额不低于1.5亿元[5] - 这是公司2024年第二次公告类似投资计划,此前于4月28日公告的投资额度上限为5000万元[5] - 公司2024年负债总额进一步升至237.63亿元,而同期公司资产仅为18.55亿元,债务压力巨大[5] - 2025年前三季度,公司营业收入为1.15亿元,同比减少2.88%,归属于母公司所有者的净亏损为2.42亿元,较上年同期的1.73亿元净亏损有所扩大[5] 公司业务运营与历史背景 - 公司主体业务仍在正常运转,主要收入来源包括网络视频付费会员业务、短视频运营业务、版权业务及电视剧发行收入等[7] - 2024年,公司来自影视剧发行的收入为2979万元,来自互联网服务的收入为2.87亿元,分部间抵消后合计营业收入为1.88亿元[7] - 公司拥有《甄嬛传》、《芈月传》等知名影视剧版权,并依靠运营和版权收入维持运营[7] - 截至2024年末,公司员工总数为159人[7] - 公司成立于2004年11月,于2010年8月12日在创业板上市,曾是唯一一家在中国上市的视频网站[7] - 2015年,公司市值一度超过1700亿元,成为当时创业板市值最高的上市公司[9] - 2016年末,公司资金链问题集中爆发,并于2020年7月从创业板摘牌,终止上市交易,当日股价收报0.18元[11] - 退市后,公司股票在新三板交易,且处于长期停盘状态,截至12月4日,公司总市值为12亿元[11] 公司债务处理与现状 - 尽管面临巨额债务和持续亏损,公司表示8年来从未想过破产清算,并感谢债权人,与部分债权人保持着新老业务区分开的合作方式[7] - 公司近期在一份公告中透露,近年来与创始人贾跃亭本人已无直接通讯或邮件联系[11]
乐视也想来大A赚钱?负债237亿、货币资金4.6亿,拿出1.8亿去炒股
搜狐财经· 2025-12-04 18:10
公司投资计划 - 公司计划使用自有资金进行证券投资,总投资额度为1.8亿元 [2] - 投资计划旨在获取投资效益,且公司声称不会影响其主营业务 [2] 投资具体配置 - 计划使用不超过3000万元投资A股,其中银行股配置比例不低于50%,沪深300指数成分股配置比例不低于80% [3] - 计划使用不少于1.5亿元参与北京证券交易所新股申购及国债逆回购 [4] 投资策略与市场环境 - 公司投资策略被总结为稳健、追求收益且不激进 [5] - 2025年以来,北交所新股平均中签率普遍低于0.05% [5] - 北交所284只股票中,截至新闻发布时,今年有253只股票平均收益率为正 [5] - 国债逆回购收益率约为1.4%至1.8%,流动性强,期限最长不超过6个月 [5] 公司财务状况 - 截至2024年末,公司总负债高达237.63亿元,而总资产仅为18.55亿元,处于资不抵债状态 [1] - 截至2024年末,公司货币资金为4.55亿元,其中超过99%为银行存款 [6] - 截至2024年第三季度报告,公司货币资金已增长至4.59亿元 [7]
负债238亿元的乐视网,要拿1.8亿炒股!
搜狐财经· 2025-12-04 17:17
公司投资计划 - 公司计划利用不超过1.8亿元的自有资金进行投资,以获取额外资金收益,投资品种包括北交所新股认购、二级市场股票买卖及国债逆回购 [1] - 二级市场股票投资总市值上限为3000万元,其中购买银行股比例不低于50%,购买沪深300指数成分股比例不低于80% [1] - 参与北交所新股认购和国债逆回购的总金额不低于1.5亿元,额度内资金可滚动使用,累计净收益可进行再投资且不占用原额度 [1] 公司财务与经营状况 - 公司负债总额持续攀升,从2020年的213.71亿元增至2024年的237.63亿元,同期公司资产仅为18.55亿元,2024年末归属母公司净资产为-213.08亿元 [2] - 公司主体业务仍在运转,主要收入来源包括付费会员业务、短视频运营、版权业务及电视剧发行收入 [2] - 公司员工总数为159人,运营依赖《甄嬛传》等知名影视剧的版权和运营收入 [2] 核心资产与历史 - 公司拥有《甄嬛传》和《芈月传》等知名影视剧版权,《甄嬛传》在2018年至2027年的十年合约期内平均每年能为出品方花儿影视带来一千多万元的收益 [2] - 公司于2013年以9亿元的价格全资收购了《甄嬛传》出品方之一的花儿影视 [2] 公司治理与股东情况 - 公司由贾跃亭创立,2022年6月,贾跃亭将其持有的6亿股股份(占总股本15.04%)的表决权等权利委托给致新云网,致新云网成为公司新的控股股东 [4][5] - 近年来,公司与贾跃亭本人已无直接通信或邮件联系 [7] 公司市场状态 - 公司于2020年7月从创业板摘牌,终止上市,退市时股价为0.18元,退市后转入新三板交易且长期停盘,截至发稿时公司总市值为12亿元 [1]
乐视网投资1.8亿元炒股 购银行股的比例不低于50%
搜狐财经· 2025-12-04 14:37
公司投资计划 - 公司拟利用自有资金进行证券投资以获取额外收益 投资品种包括北交所新股认购 二级市场股票买卖 国债逆回购 [1] - 任意时点投资本金总额上限为1.8亿元人民币 [1] - 二级市场股票投资总市值上限为3000万元 其中银行股配置比例不低于50% 沪深300指数成份股配置比例不低于80% [2] - 参与北交所新股认购和国债逆回购的总金额不低于1.5亿元 [2] - 此为2024年内第二次公告类似计划 此前4月公告的投资额度上限为5000万元 [2] 公司财务状况 - 公司负债规模持续攀升 2020年至2023年负债总额分别为213.71亿元 220.65亿元 220.57亿元 236.07亿元 [2] - 2024年负债总额进一步升至237.63亿元 同期公司总资产仅为18.55亿元 [2] - 2024年年报显示 公司归属母公司的净资产为-213.08亿元 [2] - 截至2024年第三季度末 公司合并报表货币资金为4.59亿元 较2024年底有所增加 其中大部分为银行存款 [2] - 母公司单体报表账上货币资金仅有36.6万元 [2]
负债238亿,乐视网拟投1.8亿元炒股打新
21世纪经济报道· 2025-12-04 13:20
据21财经·南财快讯记者统计,2025 年以来北交所上市新股表现亮眼,全年 24 只新股首日全部收涨,平 均涨幅高达 253.18%。与此同时,银行(881155.TI)与沪深300的年内涨幅分别为12.81%、15.15%,均 呈现稳健上涨态势。 乐视网已从A股退市多年。2020年至2023年,公司负债总额分别为213.71亿元、220.65亿元、220.57亿 元、236.07亿元,负债规模不断攀升。11月20日,乐视网在一份公告中透露,近年来,公司与贾跃亭本 人已无直接通讯或邮件联系。 12月2日晚,已退市至股转系统交易的乐视网公告,为了获得投资效益,在不影响公司主营业务正常发 展的前提下,公司拟利用自有资金购买股票获得额外的资金收益,任意时点累计购买股票、国债逆回 购、新股认购的投资本金总额不超过1.8亿元。 其中,二级市场自由买卖的股票总市值不超过3000万元,且买银行股的比例不低于50%,买成份股不低 于80%。而参与北交所新股认购和国债逆回购总金额不低于1.5亿元。 0:00 ...