Workflow
分布式光伏
icon
搜索文档
香港中华煤气(0003.HK)2025年度业绩:业务核心利润升4% 纯利持平 全年派息维持35港仙
格隆汇· 2026-03-20 17:36
核心财务业绩摘要 - 2025年税后经营利润为75亿港元,同比增长2% [1] - 2025年业务核心利润为60亿港元,同比增长4% [1] - 计入非经营性损益及物业重估变动后,股东应占溢利为57亿港元,与去年相若 [1] - 董事会建议派发末期股息每股23港仙,连同中期股息每股12港仙,全年股息维持每股35港仙 [1][3] 香港公用业务表现 - 整体售气量持平,为南下内地餐饮品牌及新兴饮食业经营者提供燃气及能源管理方案 [1] - 酒店、医院和大型公用设施引入高效节能的燃气抽湿系统 [1] - 第十五届全运会高尔夫球比赛应用全港首个一体化氢能发电机提供绿色电力 [1] - 年内开发多个氢能应用场景,包括地盘发电、电动车自动氢能充电系统等 [1] 内地公用业务表现 - 燃气销售量维持平稳,达363.5亿立方米 [2] - 年内落实住宅用户顺价,城市燃气综合价差提升0.02元人民币至每立方米0.54元人民币 [2] 新能源与绿色能源业务发展 - 可持续航空燃料业务:马来西亚新厂房于2025年末投产,怡斯莱可再生燃料年总产能由35万吨提升至77万吨 [2] - 公司支持粤港澳大湾区建设可持续航空燃料产业链 [2] - 绿色甲醇业务:与佛燃能源的合资公司VENEX已落实在佛山三水兴建绿色甲醇新厂房,预计2028年首期产能达20万吨 [2] - VENEX与威立雅及上港集团能源签署绿色甲醇供应战略合作备忘录,共同发展供应与分销网络 [2] 可再生能源业务 - 截至2025年底,分布式光伏年内新增并网500兆瓦,累计并网装机容量达2.8吉瓦 [3] - 光伏发电量增长36%至24.8亿度电,售电交易量达84亿度电 [3] - 年内成功发行第二、三期类REITS产品,资产管理规模累计融资达35亿元人民币 [3] 客户延伸业务与战略 - 集团聚合香港和内地4,600万燃气客户群,覆盖人口约1.3亿 [3] - 通过名气家提供智慧生活服务,年内名气家完成首轮战略融资4,500万美元以支持业务扩张 [3] 行业展望与公司战略 - 随着国家“十五五”规划展开,加快建设新型能源体系,目标建成100个国家级零碳园区,预期政策红利持续释放 [3] - 公司将把握绿色低碳发展机遇,参与制定园区标准 [3] - 公司将人工智能、大数据及自动化技术深度融入业务以提升竞争力和企业价值 [3]
香港中华煤气(00003.HK)2025年度业绩:业务核心利润升4% 纯利持平 全年派息维持35港仙
格隆汇· 2026-03-20 17:18
2025年全年财务业绩 - 税后经营利润为港币75亿元,同比上升2% [1] - 业务核心利润为港币60亿元,同比上升4% [1] - 计入非经常性损益后,股东应占溢利为港币57亿元,与去年相若 [1] - 董事会建议派发末期股息每股23港仙,全年共派股息每股35港仙 [5] 香港公用业务 - 整体售气量持平,为南下内地餐饮品牌及新兴饮食业经营者提供燃气及能源方案 [3] - 为酒店、医院和大型公用设施引入高效节能的燃气抽湿系统 [3] - 在第十五届全运会高尔夫球比赛应用全港首个一体化氢能发电机,开发氢能应用场景如地盘发电、电动车自动氢能充电系统 [3] 中国内地公用业务 - 燃气销售量363.5亿立方米,维持平稳 [3] - 积极推动工商市场天然气应用及老旧社区管道天然气改造 [3] - 年内落实住宅用户顺价,城市燃气综合价差提升0.02元人民币至每立方米0.54元人民币 [3] 可持续航空燃料(SAF)与绿色甲醇 - 怡斯莱(EcoCeres)位于马来西亚的新厂房于2025年末投产,可再生燃料年总产能由35万吨提升至77万吨 [3] - 公司支持粤港澳大湾区建设SAF产业链 [3] - 与佛燃能源的合资公司VENEX落实在佛山三水兴建绿色甲醇新厂房,预计2028年首期产能达20万吨 [4] - VENEX与威立雅及上港集团能源签署绿色甲醇供应战略合作备忘录,共同发展供应与分销网络 [4] 可再生能源与资本运作 - 截至2025年底,分布式光伏年内新增并网500兆瓦,累计并网装机容量达2.8吉瓦 [4] - 光伏发电量增长36%至24.8亿度电,售电交易量达84亿度电 [4] - 成功发行第二、三期类REITs产品,资产管理规模累计融资达35亿元人民币,深化轻资产策略 [4] 延伸业务与客户资源 - 集团聚合香港和内地4,600万燃气客户群,覆盖人口约1.3亿 [4] - 通过名气家提供智慧生活服务,年内名气家完成首轮战略融资4,500万美元 [4] 战略展望与政策环境 - 随着国家“十五五”规划展开,加快建设新型能源体系,力争建成100个国家级零碳园区 [4] - 集团将把握绿色低碳机遇,参与制定园区标准,并将人工智能、大数据及自动化技术深度融入业务 [4] - 集团持续推进业务重组,引入战略投资者,促进多元化能源业务发展 [1]
“十五五”时期,农网高质量发展,让绿水青山成为造福百姓的“金山银山”
中国能源报· 2026-03-16 11:15
农网发展背景与总体方向 - 国家能源局会议强调“十五五”时期将深入推进农村能源革命,着力提升农村电网供电保障和综合承载能力,并大力推进农村风电、光伏开发利用及充电设施建设 [3] - 过去十年,农网改造投资已超4300亿元,大电网延伸至所有县级行政区,供电可靠率攀升至99.8% [5] - 农村能源消费正从“用上电”转向“用好电”,需求从单一照明扩展到分布式光伏、新能源汽车充电、电气化农业生产等 [5] 从“户户通电”到“高质量供电”的实践 - 山东在1996年率先实现全省“户户通电”,当前农网建设已融入乡村规划,参与生态修复工程 [5] - 浙江农网建设聚焦“精细化”,通过线路绝缘化改造、抗风抗冰加固等工程,使农网供电可靠率提升至99.988%,户均停电时间压降至1.05小时,基本达到城市电网水平 [6] - 井冈山神山村通过电网改造升级,支撑了竹制品加工、乡村旅游等产业发展,解决了以往电压不稳导致设备“罢工”的问题 [6] 农村能源革命与绿色低碳发展 - 国家通过“整县屋顶分布式光伏开发试点”等模式,引导农村可再生能源向规模化、综合利用转变 [8] - 山东作为新能源装机大省,分布式光伏装机容量超6000万千瓦,并创新探索出“集中汇流、升压并网”、“分布式光伏+云储能”等可复制经验 [9] - 湖北巴东县土店子村构建了工业化分布式生物质能梯级循环利用及“多能互补”、“源网荷储”协同供给新模式,实现了绿电消费占比100% [9] - 浙江针对农村炒茶、农产品加工等多元化负荷特点,优化网架结构,探索应用“新能源+储能”、综合能源供应等新模式 [8] 电网作为乡村振兴的发展引擎 - 提升农村电网供电保障和综合承载能力,可有效支撑电动排灌、温室大棚温控、自动化养殖等智慧农业新业态的稳定运行 [12] - 甘肃天水清水县作为国家农村能源革命试点县,已实现“村村有光伏、户户享绿电”的生产端100%清洁化 [12] - 国网浙江电力计划深化分布式光伏、农村充电负荷承载力动态评估,推进“山区高承载”示范建设,探索农村末端保供型微电网,并持续升级数智配网2.0 [12] - 国网蒙东电力计划2026年投资16.75亿元用于农网建设,新建及改造10千伏线路3384千米、配变1387台,以提升供电可靠性、智能化水平及新能源消纳能力 [13] 未来农网的定位与展望 - 未来的农网将不仅是输送电力的通道,更是汇集分布式能源、支撑电气化生产、服务智慧生活的综合能源平台 [13] - 随着分布式光伏、分散式风电在农村迅猛发展,提升电网承载力可有效避免“弃风”、“弃光”现象 [10] - 通过科学有序开发可再生能源,加快农村配电网高质量建设,有利于将生态资源转化为绿色动能 [10]
开局之年看浙江新能源发展
中国能源报· 2026-03-06 18:37
文章核心观点 文章以浙江省为案例,系统阐述了在“双碳”目标引领下,中国新能源行业正经历从追求装机规模增长向“系统集成融合”发展的深刻转型[3][7]。行业发展的核心逻辑已从“建得好”转变为要求“融得进、送得出、消纳得了”,并通过技术创新、市场机制和产业协同,构建一个更加智慧、高效、友好的新型能源生态[9][23][32]。 根据相关目录分别进行总结 新能源发展成就与现状 - 浙江省“十四五”期间实施“风光倍增计划”,原定用五年时间实现风光电源装机翻一番,实际仅用两年半完成目标,最终实现风光装机翻两番的跃升[5][6] - 截至2025年底,浙江省风光新能源装机容量达7100万千瓦,较计划初期增长三倍,占省内总装机容量的39%,发电量占比达14.7%[6][7] - 2025年上半年,浙江省光伏装机容量已超过煤电,成为省内第一大电源[6] 发展挑战与逻辑转变 - 新能源大规模、高比例接入带来了“甜蜜的烦恼”,如源荷时空分布不均、波动性与不确定性增强,给电网安全稳定运行和全额消纳带来前所未有的挑战[7] - 随着新能源规模呈“亿千瓦级”跨越,单纯追求装机增速的时代正在过去,行业发展逻辑正发生深刻转变[7] - 国家政策明确要求新能源开发从“单兵作战”走向“集成融合”[8],对浙江而言意味着必须从“建得好”向“融得进、送得出、消纳得了”进行系统性升级[9] 系统融合发展的路径与实践 - **左右集成(多能互补与场景融合)**:在沿海推进海上风电集群化开发与送出通道共建共享;在内陆山区探索水风光一体化互补开发;在城市推广“光伏+建筑”、“光储直柔”等场景融合[10][11] - **上下集成(产业与能源协同)**:引导高耗能产业向新能源富集区转移,加速形成“算力+电力”协同布局;目标到2030年建成20个左右通过绿电直连、智能微电网实现高度自给的低碳零碳园区[14] - **前后集成(产销互动与新技术消纳)**:利用新能源制氢(氨醇)、供热拓展消纳新路径;通过虚拟电厂聚合分布式资源,目前浙江虚拟电厂规模已达280万千瓦[14] 电力供给体系与基础设施建设 - 浙江构建“电从远方来”与“电从身边来”并重的能源供给格局[14][15] - **远距离受电能力提升**:浙江特高压交流环网工程于2025年12月获批,将省内主网架从“T”型升级为“O”型环网;首条以新能源为主的甘肃至浙江±800千伏特高压直流工程加紧建设[15][16];特高压环网工程将浙江承接远方直流来电的能力从3回提升至6回[19] - **本地电源结构优化**:三澳核电、三门核电等重大项目夯实保供底座;海上风电、分布式光伏成为新增主力;利用最长海岸线优势,将海洋视为“电力蓝色油田”,攻关柔性低频输电等技术,推动海上能源岛、风电母港等示范项目[17] 市场化转型与行业调整 - 新能源行业正经历从政策驱动到市场驱动的转型阵痛,增量新能源项目全面参与电力市场,电价波动带来收益不确定性[21] - 在用电需求旺盛、消纳条件优越的浙江,企业开始更关注发电预测精度、配套储能、参与虚拟电厂聚合交易等能力建设,从粗放增长转向精细化运营和成本控制[21] - 制造端经历产能出清,企业正以技术创新谋破局:从追求产能规模转向深耕差异化赛道,研发适用于全场景的高效组件,并通过协同创新平台提升产业链韧性[21] “十五五”发展展望与新型生态构建 - 展望“十五五”,浙江新能源装机将向1.2亿千瓦的目标迈进,预计占总装机比例达到43%[23] - **从单点建设到融合共生**:海上风电、滩涂与漂浮式光伏将“组团”开发;新能源将与建筑、交通、乡村深度结合,“光伏+”和“光储直柔”系统将随处可见[24][25] - **从单向消纳到双向协同**:以深远海风电母港等工程为支点,培育融合装备制造、绿色氢能、高端材料的海洋能源新集群;通过更灵活的市场机制,充分激活虚拟电厂、储能等“调节器”[27][28] - **从多头审批到一体服务**:面对源网荷储一体化等新业态,项目管理模式应升级,趋向“一个窗口打包办”;针对微电网、虚拟电厂等建立清晰的技术标准和市场规则[31][32]
零碳物流园区发展白皮书
荣续智库· 2026-03-02 17:25
报告行业投资评级 - 本白皮书为行业研究报告,未提供明确的投资评级 [1][3][4] 报告核心观点 - 零碳物流园区是现代物流体系升级的必然选择,是企业践行ESG理念、城市实现可持续发展的重要支点 [4] - 零碳物流园区以技术创新为引擎,政策标准为框架,将低碳基因融入仓储、运输、管理等环节,重新定义物流基础设施的生态价值 [4] - 中国物流园区数量已突破2500家,传统“重规模、轻低碳”模式与环境保护矛盾尖锐,零碳转型成为破解资源环境约束、提升行业竞争力的核心路径 [7] - 零碳物流园区建设旨在推动形成政府引导、企业主导、多方参与的零碳物流发展新格局,助力物流行业在绿色转型中实现高质量发展 [8] 第一章 认识零碳物流园区 - 零碳物流园区是在规划、建设、运营和管理各阶段融入零碳理念,综合运用节能、减排、固碳、碳汇等措施,实现边界范围内产业、能源、资源、建筑、交通、生活和管理零碳发展,达到碳排放总量与吸收自我平衡的产业园区 [17][19] - 零碳物流园区的核心要素包括:建筑系统、交通系统、公共基础设施系统、绿色能源系统、数字化管理体系、碳消除与碳抵消机制 [20] - 建筑系统需从选址、设计、设备选用到低碳建造全周期考虑绿色化,例如采用装配式预制构件、利用BIM技术协同 [22][23][24][25] - 交通系统需采用环保节能型物流设备、新能源车辆,建设充足充电设施,并设计智能化交通导引以减少拥堵 [26][27][28] - 公共基础设施系统需考虑长远发展,建立集中废水处理设施,采用节能灯具与智能控制 [30] - 绿色能源系统应构建以可再生能源为主体的新型电力系统,如建设分布式光伏、储能,实现100%可再生电力供应 [30] - 数字化管理体系需建立智慧运维、能源监控等综合管理平台,实现对碳排放数据的测量、监控、报告和核查 [30][32] - 碳消除与碳抵消机制是在自身减碳最大化后,应用碳捕集封存(CCUS)或购买绿证、支持林业碳汇等方式实现剩余排放抵消 [33][34] - 中国物流市场增长迅猛,2024年社会物流总费用达19万亿元,年均增速约5%,全国已建成各类物流园区超过2500个 [35] - 中国零碳园区发展经历了从低碳园区、近零碳园区到零碳园区的阶梯式升级 [36] - 中国零碳物流园区发展可分为三个阶段:概念萌芽期(2015-2020)、政策驱动期(2021-2022)、规模化推广期(2023至今) [41][46][47] - 在概念萌芽期,企业实践呈现“碎片化试点”特征,如光伏装机容量普遍低于园区总能耗的10%,新能源车在车队中占比不足5% [44] - 在政策驱动期,国家战略如《“十四五”现代物流发展规划》首次将“绿色物流”上升为国家战略 [46] - 在规模化推广期,区域集群效应凸显,长三角已建成20多个零碳智慧物流园区,粤港澳和成渝地区也形成特色集群 [47] 第二章 零碳物流园区的ESG发展 - 国际政策方面,《全球零碳货运倡议》要求跨境物流走廊实现全链条碳追踪与抵消 [52] - 国际海事组织(IMO)净零框架规则要求全球航运业温室气体排放总量较2008年降低至少70%,并在2050年实现净零排放 [54][55] - 中国国家政策方面,2024年中央经济工作会议首次明确提出“建立一批零碳园区” [60] - 2025年政府工作报告将零碳园区纳入绿色低碳经济体系,要求通过试点示范加速推广 [61] - 地方政府积极响应,如云南省提出到2025年建成一批零碳物流园区,实现100%绿电供应 [65] - 江苏省提出到2030年“打造一批零碳工厂和园区”,常州市对市级近零碳园区试点最高支持50万元,省级及以上零碳工业园区最高支持100万元 [63][70] - 上海市将零碳物流园区建设纳入绿色低碳供应链升级计划 [64] - 零碳物流园区的认证评估体系包括“近零碳”与“零碳”两级,后者要求100%绿电供能且碳抵消能力覆盖剩余排放 [69] - 国际认证如NG认证(Next Generation Certification)要求涵盖环境合规、温室气体减排等20项指标,通过认证的产品溢价可达30% [73] - 国内标准《零碳园区评价技术规范》构建了5大一级指标及25项二级指标 [73] - 《零碳物流园区创建与评价技术规范》采用“5项必选指标+5项可选指标”模式,必选指标包括碳排放强度下降率≥15%、清洁能源占比≥50%等 [74] - 零碳物流园区的核心议题之一是能源系统脱碳化,核心路径是从化石能源依赖转向以风电、光伏等为主的清洁能源体系 [73][78] - 多能互补网络以“光伏+储能+微电网”为核心架构,例如京东“亚洲一号”西安园区10万平方米屋顶光伏年发电量达956万千瓦时,结合储能降低峰谷电价成本40% [73][79] - 氢能闭环应用方面,49吨级重卡百公里氢耗已降至8.81公斤,单次加氢续航超600公里 [81] - 智慧能源调度系统可提前72小时预测用能曲线,精度达92%以上,例如在张家口示范区使弃风弃光率从12%降至3% [82] - 交通系统智能化可显著提升效率,例如普洛斯宝山物流园智能道闸使车辆等待时间缩短90%,入园闸门通车速度提升95% [86] - 福佑卡车智能调度系统使每笔订单的空驶里程平均下降23% [86] - 冷链低碳化技术可大幅降低能耗,例如美的二级压缩机组使大型冷库全年能耗降低25%,冷库余热回收系统可实现综合节能率33% [89][90] - 包装循环革命可减少碳排放,例如菜鸟“绿色包裹”在杭州试点中实现包装材料克重下降38%,单包裹碳排放减少54% [90][93] - 区域产业共生可实现资源闭环,例如京东亚洲一号苏州物流园将日均32吨废纸箱转化为箱板纸原料,资源化率从68%提升至87% [95] 第三章 零碳物流园区的实现技术 - 人工智能(AI)与自动化技术是提升物流园区运营效率的关键,例如京东物流利用AI算法预判订单高峰并动态调度运力 [101][102] - 自动化仓储系统通过机器人执行任务,可使企业运营成本节省20%至30% [102] - 物联网(IoT)技术可实现货物状态、设备运行和环境参数的实时监控,保障运输品质 [103] - 区块链技术可提升供应链透明度与交易安全性,实现碳足迹的透明化管理 [104][119] - 能源管理系统通过智能化手段可显著降低能耗,例如菜鸟网络的全域能源管理平台使园区能耗同比降低15%,年均电费成本下降约20% [107] - 构建电动化交通网络是零碳运输的核心路径,例如江苏省通过政策规模化推广电动重卡 [109] - 可再生能源生产与储能技术是零碳园区的基石,需构建“生产-存储-消纳”闭环,并探索“风光氢储”多能互补体系 [110] - 欧洲物流园区的智能精细化能源管理系统采用分层分布式架构,实现能源精细化管理与资源优化配置 [110] - 欧洲物流园区通过设备升级显著提升效率,例如德国汉堡物流中心引入AGV系统后,仓储效率提升20%,人力成本降低30% [120][123] - 智能分拣系统处理能力可达每小时数千件,准确率超过99%,例如法国某物流园机器人分拣系统效率较人工提升4倍 [127] - 节能环保设备推广效果显著,例如更换LED照明可降低能耗60%至80%,安博(Prologis)旗下已有超过74%的物流园区完成LED照明部署 [128][130] - 欧洲物流园区加速推广新能源设备,例如德国DHL莱比锡枢纽全面采用电动叉车,续航能力提高40%,维护成本下降35% [127][128]
光伏结算价格分化背后的市场化逻辑与破局路径
中国电力报· 2026-02-28 08:31
行业背景与现状 - 中国光伏产业已全面进入市场化阶段,告别传统“全额保障性收购”政策,全面融入电力市场体系 [1] - 市场化转型导致光伏项目结算价格出现巨大差距,从几分钱到几毛钱不等,引发部分业主对项目回报和改革合理性的担忧 [1] - 过去的“全额保障性收购”模式存在弊端,固定电价无法反映电力市场供需变化,且弱化市场竞争,曾导致产能过剩和弃光率上升等问题 [3] 结算价格分化的原因与合理性 - 结算价格分化是市场化配置资源的必然结果,并非行业乱象,而是光伏产业向高质量发展转型的重要信号 [1][2] - 价格差异由多重因素决定,集中式光伏因规模大、发电稳定性强,能通过中长期交易锁定较高价格,而分布式光伏因规模小、分布零散,部分项目存在发电与负荷不匹配问题,结算价格自然偏低 [4] - 价格差异体现了光伏电力的价值分层,不同时段、不同位置的电力在市场中具有不同价值,能够引导项目优化运营策略,提升电力利用效率 [4] 市场化对产业的影响与筛选机制 - 结算价格分化本质上是市场化对光伏产业的筛选机制,倒逼产业从“规模扩张”向“质量提升”转型 [5] - 市场化定价下,结算价格直接与项目的发电效率、消纳能力和运营水平挂钩,高效、匹配好的项目能获得更高收益,技术落后、运营粗放的项目则可能面临低价甚至亏损 [5] - 对于分布式光伏,应回归其“自发自用”的本质优势,靠近用户侧建设以减少传输损耗,而余电上网可能遭遇负电价,不仅导致亏损也加重电网消纳负担 [5] 分布式光伏的破局路径:配置储能 - 配置储能是分布式光伏应对价格波动、提升项目经济性的重要手段 [7] - 储能系统可解决光伏发电时段与用电负荷不匹配的核心痛点,将午间富余电量储存,在用电高峰或高电价时段释放,实现“削峰填谷” [7] - 此举能提高自用率,减少余电上网的价格损失,并可通过峰谷价差套利来提升项目收益 [7] 分布式光伏的破局路径:参与虚拟电厂 - 参与虚拟电厂是分布式光伏突破规模限制、提升市场竞争力的重要途径 [8] - 虚拟电厂可将多个分散的分布式光伏、储能及可调负荷整合为虚拟电源整体,以规模化优势参与市场交易,解决分布式光伏单独入市门槛高的问题 [8] - 通过虚拟电厂,分布式光伏能提升议价能力获得更有利价格,能凭借专业预测规避负电价时段亏损,还能参与辅助服务及绿电交易市场获取额外收益 [9] 对分布式光伏业主的经营建议 - 分布式业主需彻底转变经营观念,通过专业化管理实现持续正收益 [11] - 项目规划阶段需优化负荷匹配,从源头规避风险,工商业业主应精准测算负荷、确定合理规模并调整生产计划,户用业主应结合自身需求确定规模并优化用电习惯 [11] - 运营阶段需跟踪市场价格并灵活调整策略,例如在预测到负电价时段时将余电储存,同时可借助专业化聚合商的服务来降低经营门槛、提升收益水平 [12] 行业展望与结论 - 新能源全面入市是光伏产业发展的里程碑,标志着其进入市场化竞争新阶段 [13] - 结算价格分化优化了资源配置,倒逼企业提升技术水平和运营效率,并催生了配储、虚拟电厂等新型发展模式,为产业长期健康发展注入新活力 [13] - 分布式光伏业主唯有主动适应市场化规则,积极拥抱行业变革,才能在市场竞争中站稳脚跟,把握产业高质量发展的新机遇 [13]
大增60%!连续三年破纪录!美国光伏迎爆发式增长!
搜狐财经· 2026-02-26 21:49
美国电网历史性扩张与光伏主导地位 - 美国电网正迎来历史性扩张 2026年预计将有86GW集中式发电装机并网 创下2002年以来年度最高纪录 较2025年的53GW几乎翻倍 [1] - 2026年新增集中式装机中 可再生能源与储能合计占比达93% 光伏主导能源转型的格局愈发清晰 [3] - 行业核心焦点已转向光伏及储能项目的并网速度 能否跟上光伏产业高速扩张的步伐成为关键课题 [5] 集中式光伏装机与发电量高速增长 - 2026年美国计划新增集中式光伏装机43.4GW 较2025年的27.2GW同比大增60% 若项目落地将是美国光伏装机连续第三年刷新历史纪录 [3] - 得克萨斯州是光伏发展核心腹地 约占全国规划新建集中式光伏装机的40%(17.4GW) 亚利桑那州和加利福尼亚州各占全国总量的6%左右 [3] - 位于得克萨斯州纳瓦罗县的Tehuacana Creek 1光伏电站预计2026年内投产 规模达837MW并配套418MW储能 是2026年美国投产规模最大的光伏相关项目 [3] - EIA预计集中式光伏发电量将从2025年的2900亿KWh 提升至2027年的4240亿KWh 预计到2026年底 美国光伏发电量将从2025年的290TWh提升至420TWh以上 [3] 分布式光伏市场结构性变革与储能趋势 - 美国小型分布式光伏发电量同比增长约11% 已占到全美总发电量的2.13% 行业重心从简单屋顶光伏逐渐转向更成熟的综合能源系统 [4] - 政策调整推动光伏项目配储比例大幅飙升 加州户用光伏配储率已达到69% 这一趋势正逐步向全美蔓延 [4] - 分析师预计到2030年 每八户美国家庭中就有一户会安装光伏系统 且绝大多数都会选配储能 以提高自发自用比例 [4] - 在科罗拉多等光伏新兴市场 若户用光伏配储率达到加州水平 到2040年有望释放高达2GWh的户用储能新增空间 [4] 分布式储能对电网的支撑作用 - 分布式储能的并网为光伏发展提供了重要支撑 对电网季节性稳定至关重要 [5] - 以纽约州为例 该州预计到2035年分布式储能规模将达3.7GW 数据显示这类储能系统56%的电费节约发生在冬季(11月至次年3月) [5] - 分布式储能能在化石能源机组频发故障、运行压力较大时为电网提供缓冲 间接保障光伏电力的稳定消纳 [5]
视频|山东一分布式光伏用戸被罚2万元!上网电量大于发电量,触发告警
新浪财经· 2026-02-25 16:26
公司业务与市场定位 - 公司业务范围涵盖光伏组件、逆变器及储能系统的全国批发[1][1] 信息来源与发布 - 新闻内容来源于“A光伏组件逆变器储能全国批发”[1][1] - 新闻责任编辑为何俊熹[1][1]
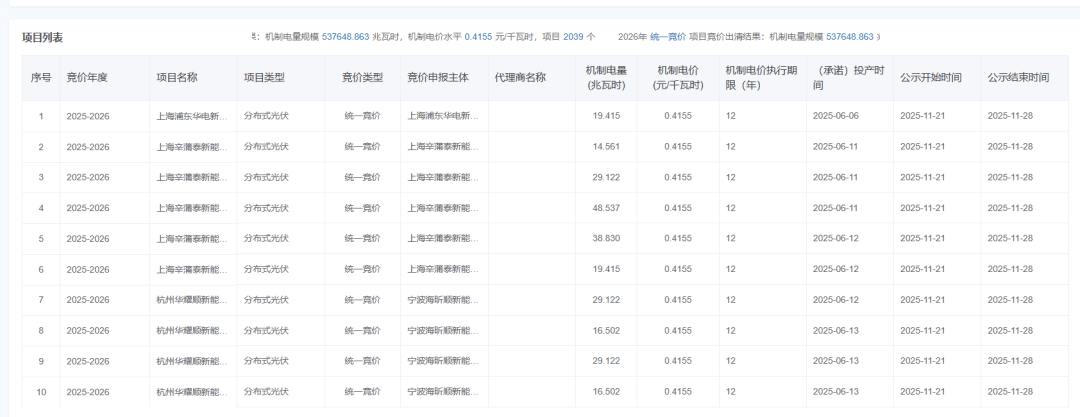
分布式光伏全量入市,如何结算?
新浪财经· 2026-02-24 19:06
政策核心与执行时间 - 2026年1月1日起,新能源上网电量原则上全部进入电力市场,上网电价通过市场交易形成,不再执行固定价格,上网电费将出现波动[21] - 政策依据包括《关于深化新能源上网电价市场化改革促进新能源高质量发展的通知》及《山东电力市场规则(试行)》等文件[21] - 在市场外同步建立差价结算机制[21] 市场参与方式 - 分布式新能源项目入市交易方式包括独立入市、聚合入市和接受价格[2][22] - 选择独立或聚合报量报价入市需到山东电力交易中心注册,未注册的默认为接受价格方式[2][22] 上网电费构成 - 入市后,分布式新能源上网电费由市场化电费和机制差价电费两部分构成[2][22] - 市场化电费由电能量电费和市场化运行费用两部分组成[3][22] 电能量电费计算 - 电能量电费计算公式为:∑(本项目每日96点上网电量 × 地市96点现货实时市场电价)[8][34] - 接受价格的分布式新能源项目,其现货实时市场价格为项目所在区域(暂按地市)发电侧节点算术平均价格[3][23] - 现货实时市场电价受地理位置、气候、供需关系等因素影响,不同地市的同类型项目同一时段价格存在差异[3][23] - 上网电量每15分钟抄计一次,现货实时市场电价每15分钟形成一次[3][26] 市场化运行费用 - 现阶段市场化运行费用为优发超出优购曲线匹配偏差费用,按月测算发布[4][26] - 该费用由并入山东电网的所有发电企业、新型经营主体(含分布式电源)及全体工商业用户,按照当月上网电量、用电电量比例分摊[4][26] - 具体计算为:月结上网电量 × 优发超出优购曲线匹配偏差费用分摊标准[8][34] 差价结算机制 - 在市场外建立差价结算机制,根据纳入机制的电量、机制电价与结算参考价的价差计算机制差价电费[6][29] - 机制差价电费 = 机制电量 × (机制电价 - 结算参考价)[6][29] - 结算参考价为全省同类型集中式项目实时市场加权均价[6][29] - 自发自用电量及跨省跨区外送电量不参与机制电费结算[7][32] 项目分类与机制电价 - 存量项目指2025年6月1日前投产的项目[6][30] - 增量项目指2025年6月1日后(含)投产的项目[6][30] - 存量项目机制电价为0.3949元/千瓦时,机制电量比例见“项目机制电量电价表”[6][31] - 增量项目机制电价、机制电量比例按照省发改委正式公布的竞价结果执行[6][31] 机制电量确定原则 - 全额上网新能源项目月度机制电量 = (月度上网电量 - 跨省跨区外送电量) × 月度机制电量比例[10][35] - 余电上网的新能源项目月度机制电量 = ((月度发电量 - 月度上网电量 - 跨省跨区外送电量) / 月度发电量) × 月度上网电量 × 月度机制电量比例[12][35] - 若以上计算结果为负值,月度机制电量按0取值[12] - 分布式电源暂无跨省跨区外送电量[12] 具体项目机制电量与电价 - 纳入国家扶贫目录的光伏扶贫项目(2025年5月31日前投产),机制电量比例为100%,机制电价为0.3949元/千瓦时[14][39] - 并网电压220伏/380伏自然人户用分布式光伏项目(2024年12月31日前投产),机制电量比例为100%,机制电价为0.3949元/千瓦时[14][40] - 并网电压220伏/380伏自然人户用分布式光伏项目(2025年1月1日-5月31日投产),机制电量比例为85%,机制电价为0.3949元/千瓦时[14][40] - 按照集中式光伏实时市场加权平均电价结算的存量6兆瓦及以上工商业光伏发电项目,机制电量比例为0[14][40] - 存量项目曾持有过渡期间或以后省内中长期合约的,机制电量比例为0[14] - 其他存量项目,机制电量比例为80%,机制电价为0.3949元/千瓦时[14][40] - 增量项目中,竞得2025年度机制电量的项目(2025年6月1日-12月31日投产),机制电量比例为80%,机制电价为0.225元/千瓦时[40] - 增量项目中,竞得2026年度机制电量的项目(2025年6月1日-2026年12月31日投产),机制电量比例为80%,机制电价为0.261元/千瓦时[15][40] - 增量项目中,未竞得机制电量的项目,机制电量比例为0[15][41] - 注:2026年度光伏机制电价竞价结果(0.261元/千瓦时)已对外公示,尚未正式发文,暂不执行[41] 其他重要事项 - 享受国家可再生能源发电补贴的新能源项目,补助标准和结算方式继续按原政策执行[12][38] - 建议分布式光伏发电企业深入研究相关政策,紧盯电力市场价格信号,通过调整生产等方式科学参与电力市场以提升收益水平[12][38]
珠海港:公司积极布局了海上风电、分布式光伏及光伏建筑一体化等项目
证券日报· 2026-02-12 21:41
公司业务布局与战略 - 公司近年来进行了一系列收购,包括收购港股上市公司兴华港口并私有化、收购创业板上市公司秀强股份控股权、收购港股上市公司天伦燃气参股权以及控股股东旗下港弘码头 [2] - 公司积极布局新能源领域,包括海上风电、分布式光伏及光伏建筑一体化等项目 [2] 公司财务处理 - 公司根据企业会计准则的要求每年对商誉进行相应的评估和测试 [2] - 公司严格按照相关规定对外披露商誉评估和测试信息 [2]